Виробництво сервіс інновації та інжиніринг

Кран консольний

01
Опис
Характеристики
Таблиця кранів
Опис
01

Консольний кран виробництва ТОВ “ВСІ Інжиніринг” здатний працювати при високих перепадах температури, ефективно справляється зі своїми завданнями при будь-яких кліматичних умовах. Кран консольний успішно використовують в невеликих промислових приміщеннях для підйому і переміщення невеликих вантажів. Спеціальна конструкція консольного крана дозволяє проводити роботу в недоступних для великої техніки місцях.

За типом установки консольні крани діляться на стаціонарні та пересувні. Стаціонарні крани виконуються поворотними і в свою чергу за способом кріплення поділяються на настінні і стоять на колоні. Крани виготовляються за серійними і індивідуальними проектами з можливістю виконання фундаментів.

Застосування кранів консольних
Кран консольний призначений для механізації вантажопідіймальних робіт на окремих робочих місцях виробничих і складських приміщень, де використання і установка більш габаритних кранів нераціональні або неможливі, а також на водних причалах для розвантаження-навантаження невеликих суден.

Характеристики
02
Вантажопідйомність, т;: 0,5 ÷ 5,0
Робочий виліт консолі, м;: до 8,0
Висота підйому, м;: 5,0
Кліматичне виконання крана: У1
емпература експлуатації, °C.: -40…+40
Група класифікації по ІСО 4301/1: А3

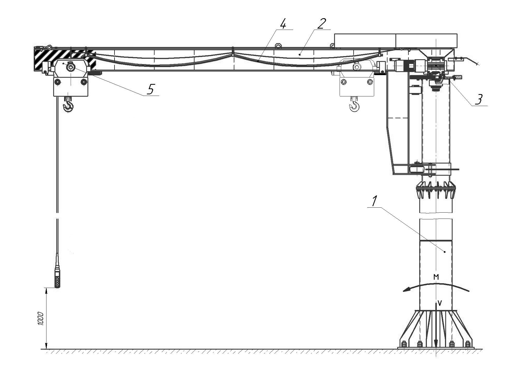
1. Колона
2. Стріла
3. Привід повороту
4. Електрообладнання
5. Таль електрична

Кран консольний
Таблиця кранів
03
НазваВантажопідйомність, т.Рабочий виліт консолі, мВисота підйому, мТип керуванняПривід повороту
ККП 0,5-4-2,50,542,5с подвесного пультаручной
ККП 1-4-41,054с подвесного пультамеханический
ККП 2-5-42,054с подвесного пультаэлектрический
ККП 3,2-6-53,265стационарный пультэлектрический
ККП 5-6-55,065стационарный пультэлектрический
ККПН 1-10-61,0106стационарный пультнастенный передвижной